自動去除磚坯廢料的加氣磚設備翻轉臺
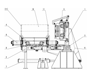
現有技術中的加氣磚設備翻轉臺如下圖1所示,包括相互垂直的水平翻轉架2和垂直翻轉架1。垂直翻轉架1底部固定有翻轉軸3,翻轉軸3的一端固定有轉動臂6,用于推動翻轉臺翻轉的翻轉油缸7的活塞桿與轉動臂6機械連接。水平翻轉架2上平面設有水平移動的大車4,垂直翻轉架1上設有垂直移動的小車5,大車4上設有平行于地平面用于蒸養車滾動開上大車4的鋼軌。加氣混凝土澆筑體進入翻轉臺前,先經過切割機完成兩邊廢料的切邊,但切邊后的兩邊廢料一般不會自行與主料分離,需在翻轉臺上通過人工去除切邊切除的廢料11。
該翻轉臺具有如下不足之處:需手工去除廢料11,且廢料11落在設備下方不易清除。

一種制造加氣磚砌塊的專用設備,特別是一種自動去除磚坯廢料的加氣磚設備翻轉臺。包括相互垂直的水平翻轉架和垂直翻轉架,兩翻轉架均與同一翻轉軸鉸接,翻轉臺動力裝置以推動翻轉臺翻轉而與翻轉臺傳動連接,其組成要點在于,還包括用于分離清除已經完成切邊的加氣混凝土澆筑體兩邊廢料的分離機構和廢料收集裝置,分離機構包括分離構件和分離動力裝置,分離動力裝置驅動分離構件循切邊痕跡運行或者全程或者一段落后至切邊廢料掉落分離,承接掉落分離廢料的廢料收集裝置設置在待分離廢料的加氣混凝土澆筑體下方。
該自動去除磚坯廢料加氣磚設備翻轉臺優點:無需手工去除廢料、去除后的廢料容易清除、生產效率較高、自動化程度較高。
創建時間 2015-05-26 作者 加氣磚設備 瀏覽
QQ留言
聯系電話:13803857310
上一篇:加氣磚設備制品蒸壓的必要性在哪里
下一篇:石膏在加氣塊生產線中的重要作用
